2024年下半年
军队直接选拔招录军(警)官工作
日前全面展开

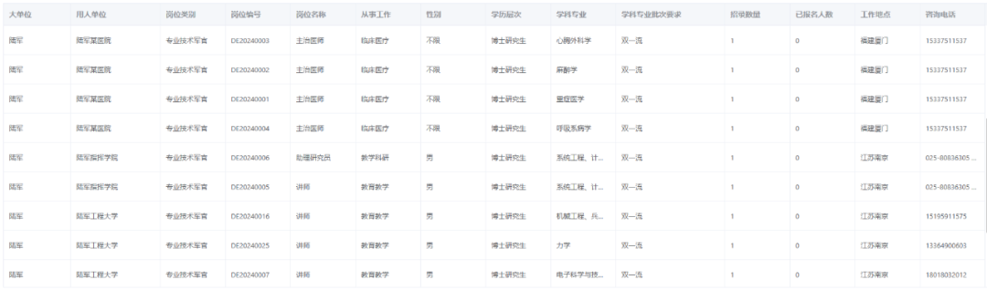
今年下半年计划提供
800余个军(警)官岗位公开招录
报考人员于11月11日至17日
通过“军队人才网”
查询具体招录岗位和标准条件
并进行在线报名

延伸阅读
按照军队有关政策,直接选拔招录对象主要从“双一流”建设高校及建设学科的理学、工学应届毕业生中选拔,军队建设急需紧缺专业也可适量从非“双一流”建设高校及建设学科、但本科为第一批次录取的应届毕业生中择优选拔。
后续军队相关单位将按照招录程序,组织开展体格检查、政治考核、考察筛选、专业考评等工作,公平公正选拔,确保招录质量。
请输入验证码