小米创始人雷军退出雷石KTV公司股东行列!
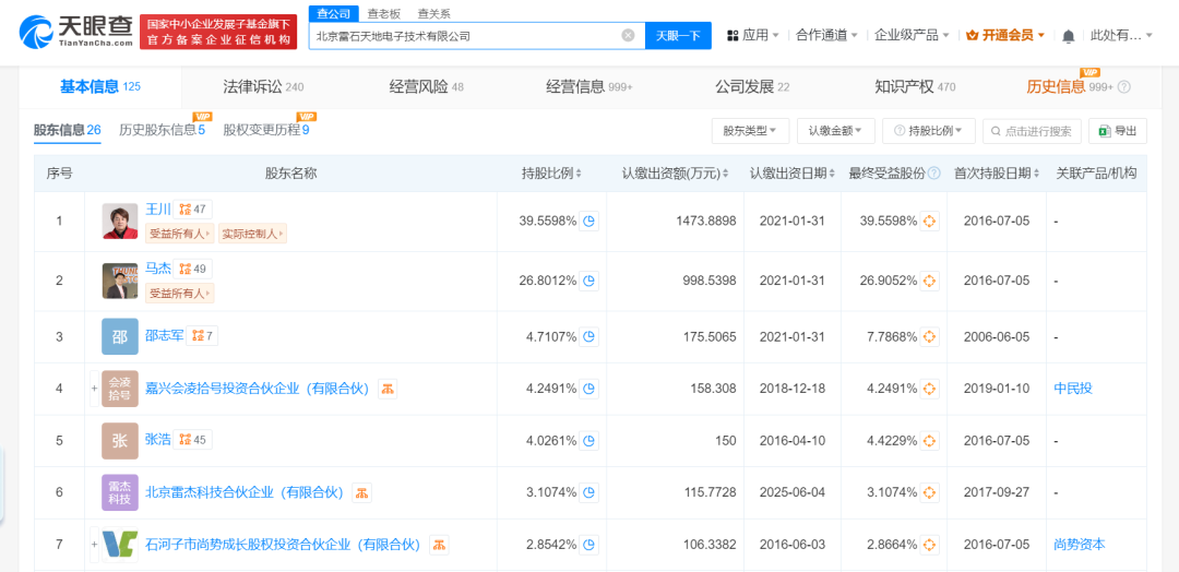
天眼查App显示,近日,北京雷石天地电子技术有限公司发生工商变更,雷军、启迪银杏创业投资管理(北京)有限公司退出股东行列,新增北京君利联合创业投资合伙企业(有限合伙)为股东。
公开信息显示,该公司是一站式K歌解决方案提供商,创始人王川也是小米集团联合创始人。



据公开资料,特斯拉、比亚迪、理想、东风、吉利等超过90%的造车新势力此前都相继宣布上线雷石系统,车载KTV已经逐渐成为汽车标配。
雷军造车还未上岸,卖一辆车亏超6万?
8月21日,小米集团首次披露汽车业务季度成绩单。智能电动汽车等创新业务净亏损18亿元,以此推算,小米汽车单车亏损超6万。
21日深夜,小米集团创始人、董事长雷军在微博发文回应:“造车很苦,但成功一定很酷!小米汽车还在投入期,希望大家理解。”


8月22日,雷军亲自驾驶小米SU7直播
在谈及上述热搜时,他进一步表示,“我觉得这个算得既对也不对,因为小米汽车还在投入期,刚刚开始,我觉得我们的财务表现还是不错的,的的确确在第二季度,我们在智能汽车等创新业务上亏了18个亿,换句话说投入了18个亿,但等我们到了一定的规模,我相信很容易打平的,所以大家不用替我们焦虑。”
网友热议:



小米集团总裁卢伟冰在业绩会表示,小米汽车SU7亏损的原因在于,第一,目前小米汽车的规模较小,而汽车是一个典型的规模经济的行业,未来有信心做大汽车的规模;第二,小米第一辆车是纯电轿车,其投入成本本身就比较高,消化这部分成本还是需要一定的时间。
小米集团披露2024年上半年及二季度业绩,第二季度营收888.9亿元,同比增长32%,创历史新高;调整后净利61.8亿元,同比增长20.1%。业务分部来看,智能电动汽车等创新业务分部,收入为人民币64亿元,经调整净亏损18亿元,交付27307辆,毛利率15.4%。


最新业绩公告截图
雷军表示,“智能汽车等创新业务亏损18亿,还在高投入阶段。这是小米历史上最出色的季报!感谢大家支持!”

截至8月29日收盘,小米集团-W(1810.HK)报18.88港元/股。

人均奖励47万元!小米大手笔奖励
在交出了历史上最出色的季报后,小米还官宣了要实施大手笔的股权激励计划。
8月22日晚间,小米集团-W(1810.HK)发布公告称,董事会宣布,公司于8月22日根据2023年股份计划奖励合共4101.9万股奖励股份予1510名选定参与者,包括本集团雇员及服务供应商。
奖励股份于授出日期之收市价为每股19.1港元。据此计算,本轮激励股权价值约7.835亿港元,约合人民币7.17亿元,人均约47.48万元人民币。

公告截图
据南财快讯统计,这是2024年以来小米第三次股份奖励,累计授出2.28亿股,按公告授出日期之收市价计算,约合36.22亿港元,约合人民币33.17亿元。

请输入验证码