今晨,湖北发布暴雨橙色预警,荆州东部、仙桃、武汉、黄冈、鄂州、黄石、咸宁等地将有暴雨到大暴雨。
武汉中心气象台2024年06月29日06时45分发布暴雨橙色预警:
预计29日08时至30日08时,荆州东部、仙桃、武汉、黄冈、鄂州、黄石、咸宁等地将有暴雨到大暴雨,请注意防范。
今天(29日)凌晨起,湖北武汉、黄冈、鄂州、仙桃、荆州等地,已连发多条暴雨预警,其中黄冈、仙桃为暴雨红色预警,出行请注意防范。

长江汉口站距警戒水位不到1米!
湖北4个县市区
24小时降雨量超200毫米
长江云新闻记者29日从长江委水文局获悉,当天8时,长江汉口站水位26.56米,距离警戒水位仅差0.74米,且水位还在快速上涨中。

据了解,目前,长江干流螺山至码头镇429公里全线超设防水位,根据水文部门预测, 长江中下游干流城陵矶以下河段将于7月1日开始逐渐全线超警水位,汉口站或将在7月3日迎来峰值。
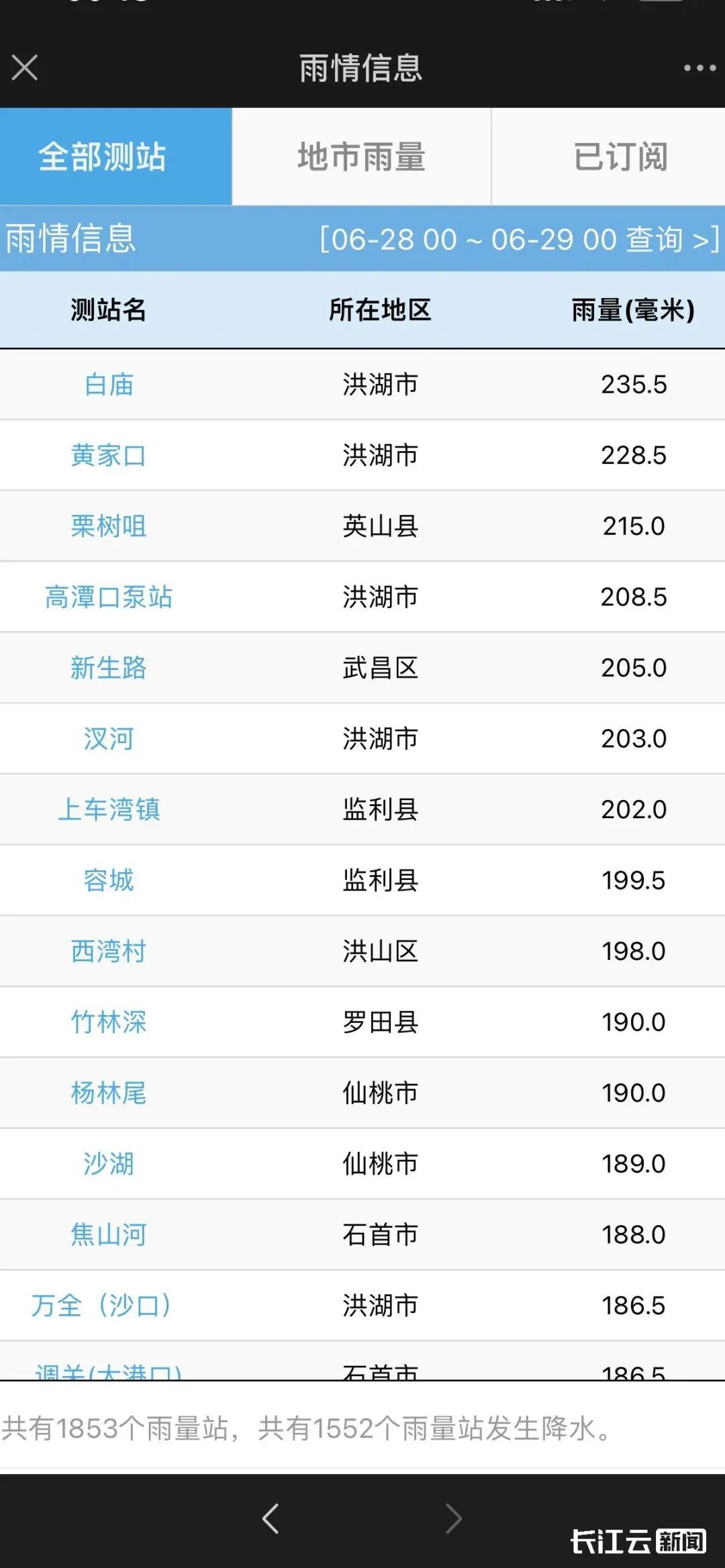
另据长江云新闻记者从湖北省水文水资源中心获悉,6月28日0时至24时,湖北1853雨量测量站点中超85%出现降雨。荆州洪湖、黄冈英山、武汉武昌、荆州监利4个县市区的站点雨量超200毫米。

记者从武汉市水务局了解到,28日7时至29日7时,武汉市出现大暴雨,累计雨量:汉口地区125.5-224.6毫米,汉阳地区145.6-189.9毫米,武昌地区140.9-222.8毫米;最大累计降雨量224.6毫米(东西湖长青街站),最大小时雨强31.3毫米(江夏区金口站28日08-09时)。
降雨期间,东湖高新区青王路铁路桥下、民族大道新竹路口、东湖高新关南一路铁路桥涵洞,汉阳区四新北路汉城路口,武昌区友谊大道公铁隧道入口处、东一路,洪山区杨春湖路和谐路口,江夏区金龙大街与武昌大道交汇处涵洞,黄陂区巨龙大道等路段局部出现积水。
截止目前,全市主次干道无积水,运行正常。
武汉轮渡公告:
集中线今起停航
6月28日深夜
武汉两江轮渡发布通告
因长江水位猛涨
集中线今起停航
▼
尊敬的乘客朋友们:
因汛期长江水位猛涨、流量大幅增加,集中线(集家嘴码头—中华路2号码头)航线船舶航行及靠泊安全已受到水文条件严重影响。为确保乘客出行安全,该轮渡航线于2024年6月29日起暂时停航,我司将密切关注气候和汛情变化,该航线一旦达到安全航行条件,将及时恢复运营。如有不便之处,敬请谅解!
特此通告
武汉两江轮渡有限责任公司
2024年6月28日
湖北一周天气预报

请输入验证码