17日上午,雷军在个人微博宣布:今天,对小米来说,是一个历史性时刻。小米全新的操作系统,小米澎湃OS(Xiaomi HyperOS),正式版已完成封包。小米14系列第一款搭载新系统的手机已交付工厂,正式开始生产。从这一刻起,小米澎湃OS将逐步接替MIUI。

随后,雷军再次发布微博表示,我们刚刚宣布:小米将启用全新操作系统,小米澎湃OS(Xiaomi HyperOS)。这对小米来说,是一个划时代的里程碑,是迈向「人车家全生态」的关键跨越。


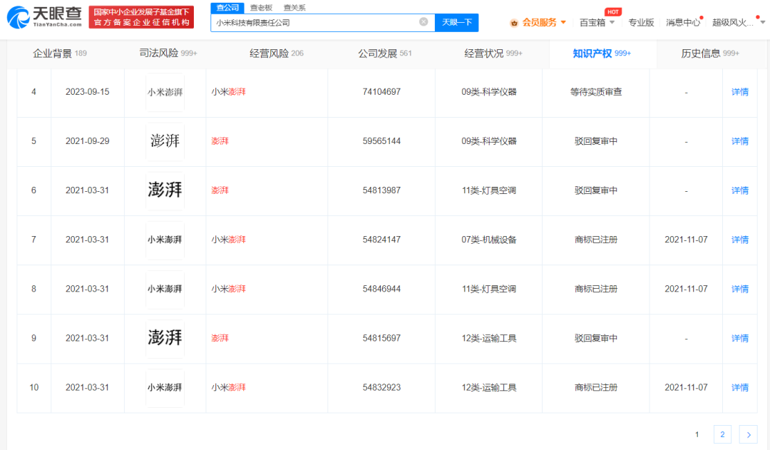
天眼查App显示,近日,小米科技有限责任公司申请注册多个“REDMI HYPER”“小米澎湃”商标,国际分类包括运输工具、科学仪器、网站服务等,当前商标状态为等待实质审查。
值得一提的是,此前小米公司曾申请注册“澎湃”“小米澎湃”商标,其中多个“小米澎湃”商标已注册成功。


请输入验证码