喜大普奔!
目前,湖北省内城市
已全部接入国家异地就医结算系统!

究竟有什么福利?
▼
截至7月底,全国393个地区已开通国家异地就医结算系统,覆盖全国98%地区,5102家定点医疗机构开通跨省异地就医住院医疗费用直接结算。

这些地区接入国家异地就医结算系统
7月21日,人社部公布了基本医疗保险跨省异地就医住院医疗费用直接结算地区和定点医疗机构开通情况。目前,全国跨省异地就医住院医疗费用直接结算联网接入工作顺利推进。目前湖北省内城市已全部接入国家异地就医结算系统。

这也就是说
湖北人前往外地就医直接结算
外地人来到湖北就医直接结算
也不再是梦!
跨省异地就医网上公共服务查询系统上线
参保人员可以登录网址:Http://si.12333.gov.cn实时在线查询最新地区及定点医疗机构开通情况。开通地区的参保人员按参保地相关规定进行跨省异地就医登记备案及就医时,可从公布的名单中选择定点医疗机构,以便实现跨省异地就医住院医疗费用直接结算。

网上公共服务查询系统含公共查询和个人权益查询,公共查询内容为已开通的跨省异地就医地区和定点医疗机构,以及各参保地经办机构信息;个人权益查询在参保人注册并通过实名认证后,可查询个人跨省异地就医登记备案信息和跨省异地就医费用明细。
医保异地结算有哪些好处?

给患者减轻负担
现在各个省市的流动人口增多,很多的城市都有一些常住人群,而他们的医保可能并不在本地,这些人就医难看病难。这些人有可能是一些农民工,收入微薄,现在医保异地结算可以大大的减轻他们看病的负担。
有效防堵漏洞保证“救命钱”安全
进行异地结算就要完成医保信息全国联网,这样可以让信息更加透明化、明确化,可以有效防止漏洞,真正地保证老百姓救命钱的安全使用。
与分级诊疗不冲突
如果只是一些小病,社区医院就可以解决,既省钱又省力。进行医保结算落地并不是让人们都去大医院,相反,要异地转院也需要当地医院开具证明。
哪些人可以享受跨省异地就医直接结算?
武汉市人社局介绍,主要是已办理过异地人员登记备案且符合跨省异地就医住院医疗费用直接结算的参保人员,包括户口迁移出湖北省的异地安置退休参保人员、退休后居住省外一年以上的参保人员、单位派驻省外工作一年以上的参保人员等。

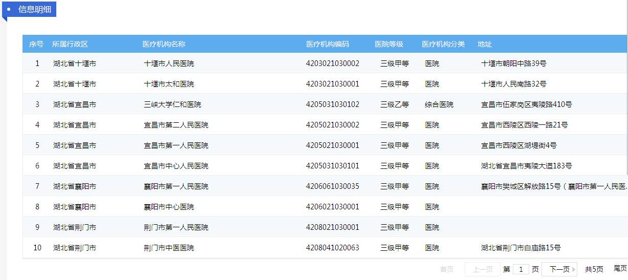
湖北都有哪些定点医院?
(点击可查看大图)





全国范围内多家著名医院也已经接入系统。如:中国医学科学院北京协和医院、中国人民解放军总医院、四川大学华西医院等。
定点医院名单实时更新,全国所有医院名录:
请登陆:http://si.12333.gov.cn/118733.jhtml
超方便!
快告诉小伙伴吧!

请输入验证码